Stellantis may be looking to adapt planetary gear hybrid systems—like the one currently used in the Chrysler Pacifica Hybrid plug-in hybrid minivan—to more rugged vehicles, a patent filing indicates.
The Pacifica Hybrid uses a planetary power-split system to juggle its 3.6-liter V-6 and a pair of electric motors, which can both be used as generators for propulsion. But in a patent filing submitted to the United States Patent and Trademark Office (USPTO) in July 2023, and published by that office Feb. 6, Stellantis claims such systems are not ideal for all applications.
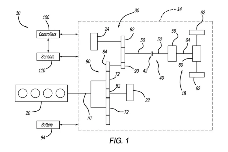
Stellantis planetary gear transmission patent image
Stellantis planetary gear transmission patent image
In the filing, Stellantis notes that, when combined with the transfer cases commonly used with mechanical four-wheel-drive systems, a planetary-gear system can cause rough shifts between high and low range, difficulty engaging the low-range gear’s splines while the vehicle is stopped, and difficult synchronizing shifts while in low range.
Problems like these likely contributed to the decision to use a different plug-in hybrid system in the Jeep Wrangler 4xe and Grand Cherokee 4xe plug-in hybrids. Those SUVs retain mechanical four-wheel-drive systems similar to their non-hybrid counterparts, along with 8-speed automatic transmissions. In that setup, one electric motor is integrated with the transmission, while a second, smaller motor-generator attaches to the engine’s crankshaft.
2025 Jeep Grand Cherokee 4xe
Stellantis is essentially trying to split the difference by combining with 2-speed transfer case from a traditional four-wheel-drive system with a planetary-gear power split configuration. According to the filing, it aims to do that with a disconnect device that can uncouple the engine and electric motors from the driveline, using motor torque to synchronize the input and output shaft speeds of the transfer case.
Such a system could prove useful in future Jeep hybrid and plug-in hybrid models, helping to maintain their off-road capability while perhaps improving efficiency over the current 4xe system. Those current 4xe plug-in hybrids have generally sold well, and Jeep is reportedly considering hybrids without charge ports to sell alongside them in the U.S.

