When tailgating, seating arrangements are usually limited to folding chairs and the open tailgate itself. But Ford’s engineers have been working on fold-out seats supported by a trailer hitch.
This more elaborate seating design was disclosed in a patent application Ford submitted to the United States Patent and Trademark Office (USPTO) on May 23, 2023, although it was only published by the USPTO on Nov. 28, 2024.
Ford hitch-mounted tailgate seat patent image
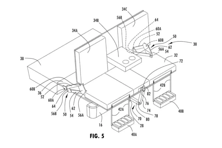
The filing describes movable seats that would stow in a vehicle’s cargo area when not in use, then deploy outward via a support mechanism mounted to the hitch and hinges attached to the sides of the seats. An electrical connector in the hitch could supply power to move the seats, Ford notes in the document.
The seats would be configured a bit like the second-row bench seats in most new cars, complete with a fold-down center armrest and cupholders. Ford also included provisions for fold-out head- and foot-rests for the rear-facing seats. With their backward configuration, the seats would also be a bit like the third rows of some station wagons, albeit only occupied when the vehicle is stationary.
Ford hitch-mounted tailgate seat patent image
This arrangement allows for rear-facing tailgate seating in vehicles without a fold-down tailgate, like the SUV in the patent filing’s accompanying drawings. But Ford has also tried to patent a split tailgate for SUVs that would provide a place to sit that might not be as comfortable but would be much less complex and wouldn’t interfere with access to the cargo area.
Ford’s engineers certainly have tailgating on their minds. Other recent Ford patents cover a frunk-mounted screen and a host of other accessories for electric vehicles like the F-150 Lightning pickup truck. Combining those features with the rear-mounted seats shown here would make for quite the tailgating rig.

