Flat-towing an electric vehicle—that is, towing it with its wheels in contact with the road—is more difficult than with internal-combustion vehicles. But automakers are working on solutions.
When internal-combustion vehicles are flat-towed, their transmissions are shifted into neutral, or prop shafts are removed or disengaged, to allow the normally-driven wheels to rotate freely without risking damage to mechanical components. But mechanically decoupling electric motors from the wheels they normally drive isn’t as straightforward with EVs.
Stellantis EV flat towing patent image
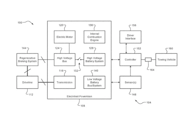
In a patent filing published by the United States Patent and Trademark Office (USPTO) Jan. 30, 2025 (and submitted Jul. 24, 2023), Stellantis proposes an alternative, for vehicles equipped with permanent-magnet synchronous motors, at least. A high-voltage bus could be used to induce field weakening, reducing the torque of the motors and allowing them to spin more freely, while being isolated from the battery pack.
It’s a somewhat simpler solution than the one proposed by Rivian in a patent filing that surfaced just about a year ago. In that filing, the automaker discusses using software to disconnect the motor or motors that would normally power the rear axle, while still applying torque to the front wheels to keep the vehicle from rolling out of sync with the tow vehicle.
Rivian free-wheel towing patent image
In earlier patent application, published by the USPTO in 2021, Ford takes things a step further by suggesting that EVs could selectively be charged when towed. That also opens up the possibility of using the EV to help boost the tow vehicle up hills, similar to what startups Pebble and Lightship have built into travel trailers.
While flat-towing might not be a primary concern for all EV shoppers, it’s popular with RV owners, and could also make it easier to recover stranded EVs, reducing the need for flatbed trucks. So these patented ideas could prove quite useful if they’re ever applied to production vehicles.

