- Parent company of Dodge, Ram, Jeep envisions an exhaust system for EVs
- Would identify battery thermal runaway, could help prevent resulting fire by treating gases
- Dodge Charger Daytona EV already makes the sound of an ICE exhaust system
Exhaust systems remove the byproducts of internal combustion, so they might seem superfluous in electric vehicles. But Stellantis might disagree with that.
On Jan. 16, the United States Patent and Trademark Office (USPTO) published a patent filing from the automaker (originally filed in 2023) for an electric vehicle exhaust system that, Stellantis claims, could help prevent EV battery fires—or control the extent of their damage.
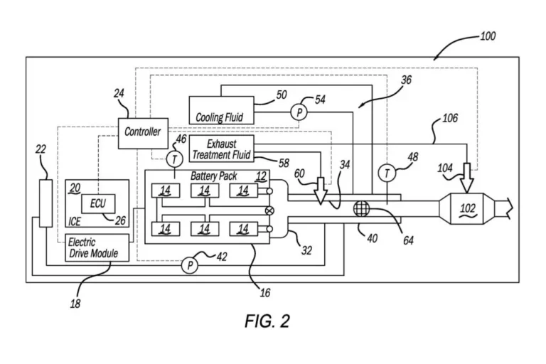
When batteries overheat—or experience thermal runaway, in engineering parlance—they can release flammable gases that then ignite in the presence of the high temperatures generated by the overheating batteries, Stellantis explains in the document. Those gases can include hydrogen, as well as hydrocarbons like methane, ethane, ethylene, acetylene, propane, cyclopropane, and butane, according to the automaker.
Stellantis EV exhaust system patent image
Removing those gases could prevent thermal runaway from escalating into fires, the automaker reasons, as well as vent pressure from the battery pack. With Stellantis’ four new modular STLA platforms designed to accommodate combustion engines and their exhaust systems, as well as all-electric powertrains, there’s certainly room for the necessary plumbing.
Stellantis even designed an exhaust system of sorts for the Dodge Charger Daytona EV, to reproduce the V-8 rumble of past Chargers—although that system is entirely intended for sound and vibration.
In the battery exhaust system, gases and they would pass through “a plurality of treatment zones for chemically treating the flow of gases to eliminate or at least reduce the number of various chemical species from the flow,” Stellantis says in the filing—bringing to mind some similarities to the catalytic converters used in combustion vehicles.
Stellantis EV exhaust system patent image
Modern batteries in most EVs are rigidly controlled via battery management system parameters. They’re also tightly sealed, with liquid cooling systems, and monitored at the module or cell level in a way that can isolate a defective portion of the pack. So while it’s surprising to see an automaker focusing on an outcome that its engineers have likely gone to great lengths to avoid, this isn’t the only unusual solution proposed for lessening the risk of EV battery fires. In 2019 the automotive supplier Bosch proposed using pyrotechnics to quickly sever electrical connections between battery pack and the rest of the vehicle if thermal runaway occurs. Either solution would be more about containing damage, and potentially making vehicles safer for first responders to approach, than prevent runaways in the first place.
Fire risk has led to several large EV recalls, but in 2023 the Insurance Institute for Highway Safety (IIHS) said that, as a safety concern, it’s outweighed (no pun intended) by the bulk of many current EVs and the damage they can inflict on other road users.

