Stellantis is experimenting with multi-speed transmissions to improve the efficiency of electric vehicles, a recently surfaced patent filing indicates.
Published by the United States Patent and Trademark Office (USPTO) Feb. 27, 2025, but originally filed by the automaker in 2023, the patent application deals specifically with adding a second forward gear to the drive modules in which electric motors are often packaged for use in EVs.
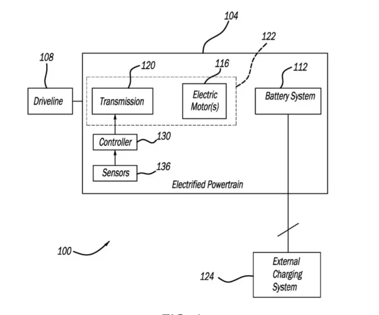
Stellantis EV transmission patent image
The document focusing mainly on how the transmission would shift between the two gears. Stellantis discusses using magnetic fluid, which is currently used in certain adaptive dampers. This fluid contains ferrous metallic particles, which react to magnetic fields. This could be used to move the shafts holding individual gears into position in a more efficient manner versus conventional hydraulically-actuated clutches, Stellantis claims.
While this may just be a case of patent writers trying to cover their legal bases, the document also refers to “electrified vehicles” rather than just EVs, including hybrids and plug-in hybrids like Stellantis’ Chrysler Pacifica Hybrid and Jeep 4xe models. A separate 2-speed gearbox for an electric motor as part of a hybrid system isn’t unheard of; Mercedes-Benz employs this complex arrangement in some of its current AMG performance plug-in hybrids.
Stellantis EV transmission patent image
This is the second recent Stellantis patent filing related to a multi-speed transmission for use with electric motors. The first was published by the USPTO in January 2024, but was focused on off-road use and involved a different gear-actuation mechanism.
The Porsche Taycan remains the most prominent use of a multi-speed transmission in a production electric car. Mercedes is slated to use one in future EVs as well, and Lucid has patented one of its own. Volkswagen has indicated that it won’t be going this route, however, while Honda has designed a manual transmission—complete with clutch pedal—as it looks for ways to win car enthusiasts’ approval of its upcoming 0 Series EVs.

