Ford has filed a patent application for solid axles with integrated hub motors, hinting at a very different kind of EV powertrain from the Blue Oval.
Instead of allowing wheels to move up and down individually, as in independent suspension systems, solid axles pivot when moving over uneven surfaces. That means they’ve been primarily relegated to pickup trucks, but Ford’s patent application, filed with the United States Patent and Trademark Office (USPTO) Feb. 9, shows how they might stick around in the EV era.
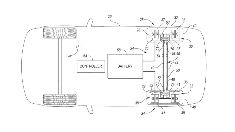
Ford patent image showing a solid axle with EV hub motors
The document details adding hub-motor assemblies to a solid axle, with one assembly per wheel to enable all-wheel drive. In contrast to the inboard-mounted motors in most current EVs, these assemblies move the motors out to the wheel hubs, theoretically freeing up more space within the vehicle’s footprint.
Hub motors aren’t a new idea. Slovenian company Elaphe is supplying them for some of the most eagerly anticipated super-efficiency vehicles—including the Aptera three-wheeler and the solar-assisted Lightyear 0. Earlier this year, Elaphe also announced a partnership with McLaren to incorporate the latter’s racing tech into future hub-motor powertrains.
Ford patent image showing a solid axle with EV hub motors
However, Ford previously nixed in-wheel motors for the F-150 Lightning, owing to concerns that the motors would be more exposed to damage than in a conventional inboard positioning, and might interfere with the friction brakes, which even an electric truck uses frequently when towing. The hub design also increases unsprung mass, making tuning for ride quality and handling more difficult.
Despite these potential issues, Lordstown Motors chose Elaphe-licensed hub motors for its Endurance pickup truck, which finally started shipping in late 2022 after several delays. The Endurance is aimed more narrowly at commercial fleets than the Lightning, which Ford is pitching to both commercial and retail customers. But this patent applications hints that Ford is open to trying a similar motor setup on future EVs.

